Sorry, you need to enable JavaScript to visit this website.
Direkt zum Inhalt

Kastenfenster: Sanierung und Ergänzung als Strategie zum Erhalt von Holzfenstern

In den allermeisten Fällen finden wir heute Gebäude, deren Fenster nicht mehr die ursprünglichen sind. Die Gebäudestruktur blieb erhalten, während die Fenster bereits einmal oder mehrmals ausgetauscht worden sind: sei es, weil sie nicht mehr funktionierten oder weil man verbesserte Konstruktionen einbaute. Fenster, die mehr als 150 oder 200 Jahre alt sind, existieren kaum noch, während wesentlich ältere Gebäude noch immer genutzt werden. Erhaltene historische Fenster stammen also nicht unbedingt aus der Bauzeit des Gebäudes, sind aber dennoch Zeugnis einer bestimmten Entwicklungsstufe der Handwerkstradition. Die Ergänzung zusätzlicher Fensterebenen stellt eine mögliche Strategie zum Erhalt und zur Ertüchtigung von Bestandsfenstern dar. Es soll hier nicht um Kastenfenster im klassischen Sinne gehen, sondern um das Potenzial, das die Ergänzung von bestehenden Fenstern in schützenswerten Gebäuden für den Erhalt dieser Bauteile bietet.

Begriffsbestimmung und Bauteile

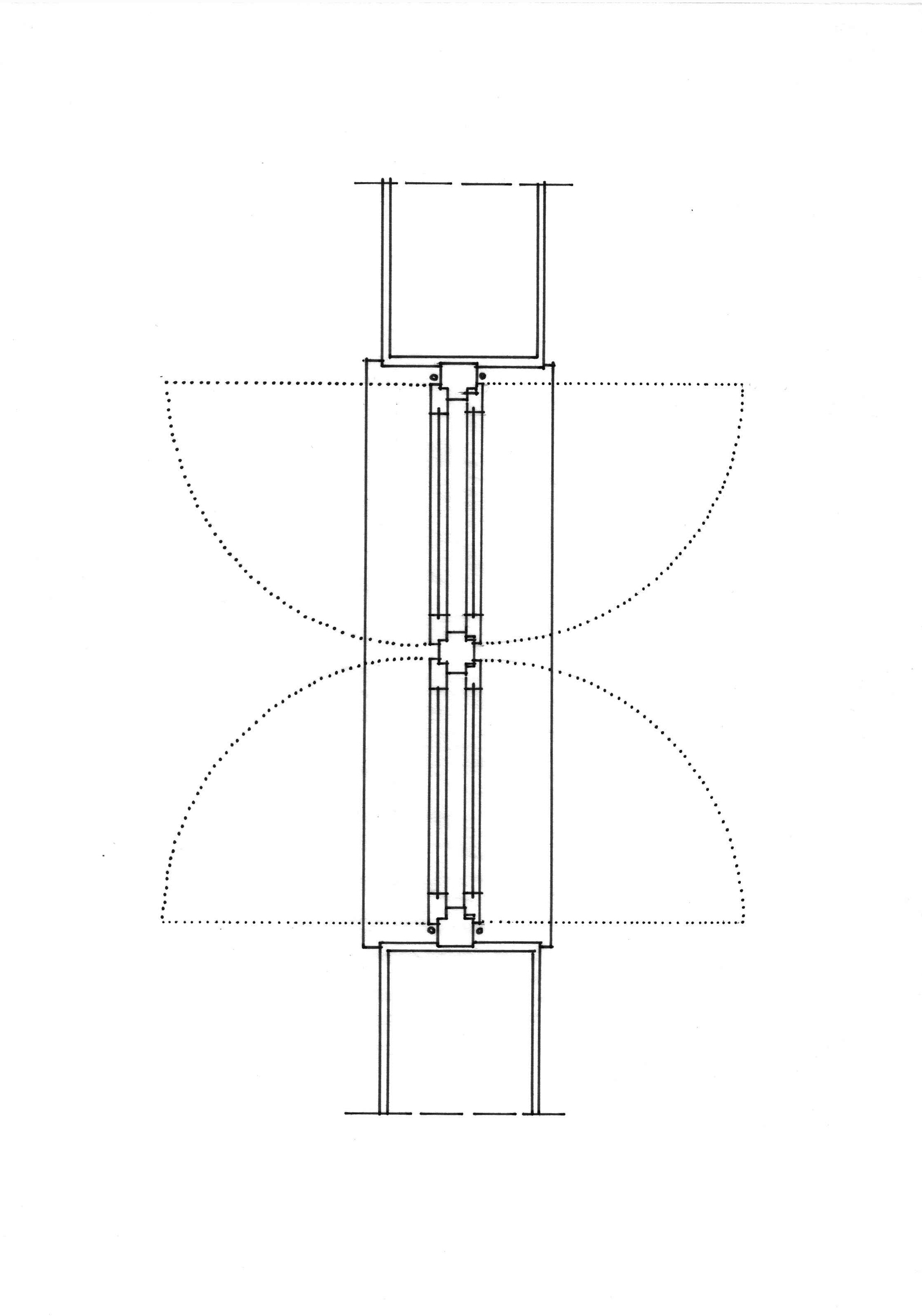
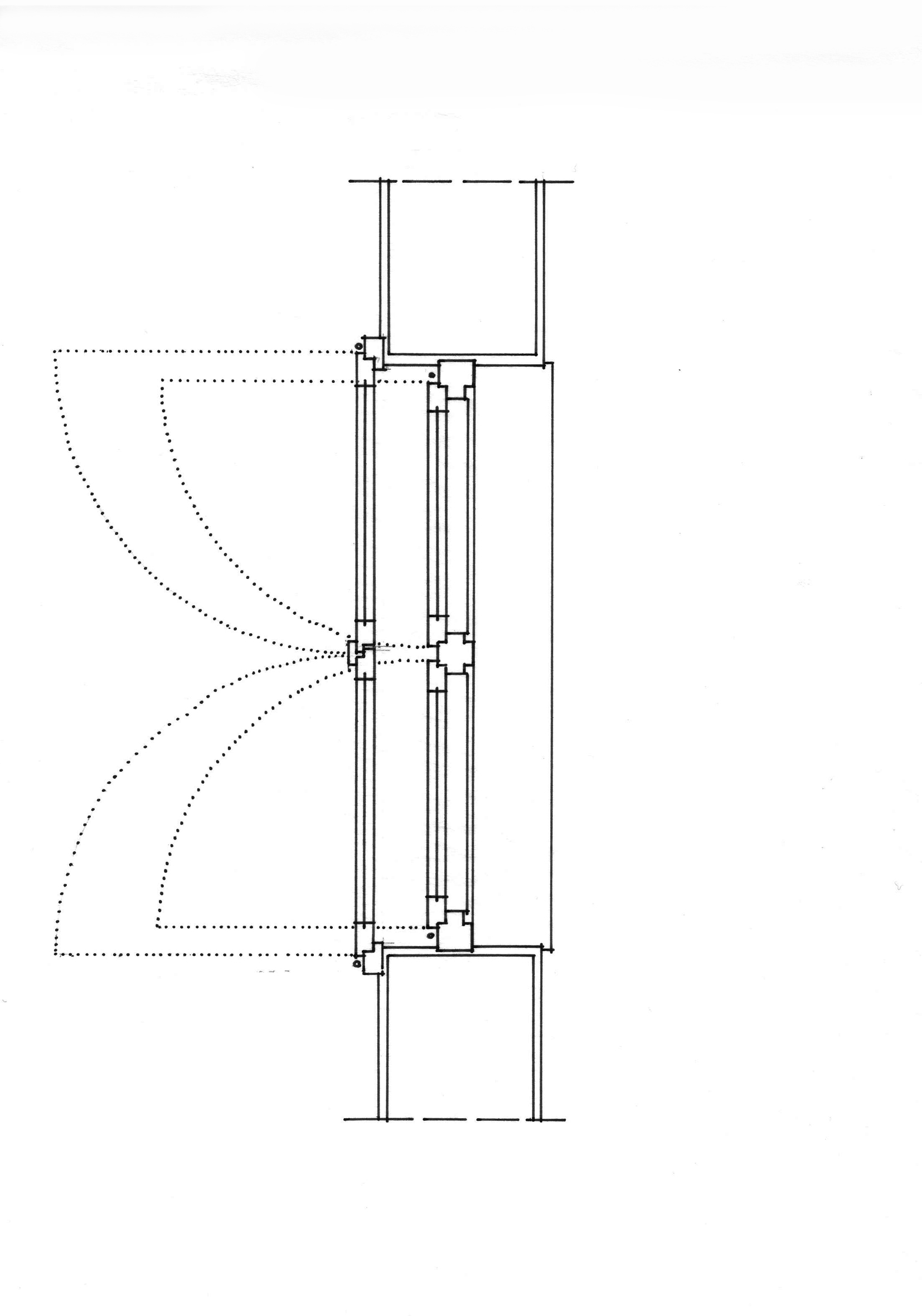
Nach gängiger Definition unterscheidet man je nach Anzahl und Anordnung der Verglasungsebenen folgende Fenstertypen (z. B. Abb. 2).

  • Einfachfenster: eine Verglasungsebene (mit Einfach- oder Mehrfachverglasung)
  • Kastenfenster, es hat einen Blendrahmen, an dem die Flügel (dicht hintereinander) mit einem gemeinsamen Drehpunkt befestigt ist" >Verbundfenster: zwei Verglasungsebenen in zwei miteinander verbundenen, gleichzeitig zu öffnenden Rahmen
  • Doppelfenster: zwei Verglasungsebenen in zwei unabhängigen Rahmenebenen
  • Kastenfenster: zwei Verglasungsebenen, deren Rahmen über ein Futterbrett in der Leibung (“Kasten”) miteinander verbunden sind.

Im nachfolgenden Text wird zwischen den Begriffen Kasten- und Doppelfenstern nicht unterschieden. Alle Fenster mit zwei Verglasungsebenen in unabhängig beweglichen Flügeln werden hier als Kastenfenster bezeichnet. Je nach Öffnungsart sind zwei unterschiedliche Ausführungen möglich:

  • Innere und äußere Flügel öffnen nach innen (klassisches Kastenfenster): Das lichte Öffnungsmaß des inneren Stockrahmens muss mindestens um die Flügelstärke der Außenfenster breiter sein als das äußere Öffnungsmaß. Diese Konstruktion ist vor allem im süddeutschen Raum üblich.
  • Innere Flügel öffnen nach innen, äußere Flügel nach außen: In diesem Fall können die äußeren Flügel ohne Leibungsverkleidung oder „Kasten“ direkt am Stockrahmen angeschlagen werden.

Eine ähnliche Konstruktion existiert auch mit feststehenden äußeren Winterfenstern, die über Vorreiber befestigt und dadurch zwar demontierbar, aber unbeweglich sind. Solche feststehenden Flügel enthalten häufig einen kleinen drehbaren oder verschiebbaren Lüftungsflügel.

 

Technische und gestalterische Eigenschaften von Fensterkonstruktionen

Durch die Verwendung von drehbaren Flügeln in einem fest in den Rohbau eingebauten Rahmen entstehen am Fenster mehrere unvermeidliche Fugen in der Gebäudehülle, in denen Materialwechsel, Undichtigkeiten und eindringendes Niederschlagswasser bewältigt werden müssen: der Gebäudeanschluss, der Anschlagfalz zwischen Flügel und Stockrahmen und der Falz, in die die Verglasung gesetzt und mit Glasleisten oder Kitt fixiert wird" >Glasfalz. Diesen Fugen soll bei der Betrachtung verschiedener Konstruktionen jeweils besondere Aufmerksamkeit geschenkt werden.

Neben der Dichtigkeit der Konstruktion im Bereich dieser Fugen werden die bauphysikalischen Eigenschaften einer Fensterkonstruktion hauptsächlich durch die folgenden Faktoren bestimmt, die jeweils Einfluss sowohl auf den Schall- als auch auf den Wärmeschutz haben:

  • Querschnitt der inneren und äußeren Rahmenprofile
  • Rahmenanteil an der gesamten Fensterfläche
  • Anschluss an die seitlichen Leibungsflächen
  • Stärke und Ausführung der Leibungsverkleidung
  • Dichtigkeit der Flügelanschläge
  • Schichtdicke der äußeren und inneren Verglasung
  • Abstand der Verglasungsebenen
  • Innere und äußere Leibungstiefe

Insbesondere bei der Sanierung sind auch statische Eigenschaften wie die Tragfähigkeit von Flügelrahmen und Fensterbändern zu untersuchen, die das Gewicht der Verglasung tragen und eventuell auch gängigen Sicherheitsvorschriften entsprechen müssen. Dazu kommen gestalterische und funktionale Fragen, beispielsweise welche Verschattung durch Rahmen und Fenstersprossen entsteht oder wie viele Handgriffe zum Öffnen eines Kastenfensters erforderlich sind.

Die Frage nach dem Umgang mit bestehenden historischen Holzfenstern stellt sich normalerweise nicht losgelöst von der umfassenderen Betrachtung eines ganzen Gebäudes oder Gebäudeteils. Neben der Zielsetzung, Gebäudesubstanz zu erhalten, um sie weiterhin nutzen zu können, gibt es eine Reihe von Beweggründen, die für den Erhalt alter Häuser berücksichtigt werden: Es kann darum gehen, die Integrität des Bestandes und damit den Charme eines alten Gebäudes oder – aus Sicht der Denkmalpflege – die historische Bausubstanz am originalen Ort zu erhalten.

Fenster sind komplexe, fast möbelartige Bauteile, die einen besonders leistungsfähigen Bestandteil der Gebäudehülle darstellen. Sie müssen durchsichtig, beweglich und doch dicht sein, außerdem Sicherheit bieten und vor Wärme und Kälte annähernd ebenso gut schützen wie die opaken Teile der Außenfassade.

Im Gesamtgefüge des Fensters werden verschiedene, ganz unterschiedliche Materialien eingesetzt, die in jedem Fall gut aufeinander abgestimmt sein müssen, um die notwendige Langlebigkeit zu gewährleisten.

Überlieferte Ausführungsfehler

Bei historischen Konstruktionen kann man trotz ihres Alters nicht immer davon ausgehen, dass frühere Handwerker ohne Fehler gearbeitet haben. Mängel in der Bauausführung oder regelrechte Konstruktionsfehler sind keineswegs ausgeschlossen. In solchen Fällen stellt sich die berechtigte Frage, ob die Sanierung den fehlerhaften Zustand restaurieren sollte oder ob eine Korrektur erlaubt ist, auch wenn sie vom Original abweicht.

 

Strategien zur Sanierung

Je älter die historischen Konstruktionen sind, desto weniger Exemplare ihrer Bauart und Materialisierung existieren noch. Die folgenden Betrachtungen beschränken sich daher auf Fenster aus handwerklicher oder teilindustrieller Herstellung, die aus der Zeit vor der Mitte des 20. Jahrhunderts stammen. Allerdings könnten in Zukunft aus Gründen der Ressourcenschonung und der Abfallvermeidung auch für jüngere Holzfenster Ertüchtigungsmaßnahmen anstelle eines Komplettaustausches treten.

Die neuen Vorsatzfenster bieten die Möglichkeit, durch moderne Bauteile von Fugendichtungen über Wärmeschutzverglasungen bis hin zu Lüftungsgeräten die Eigenschaften des entstehenden Doppelfensters zu beeinflussen. Eine besondere Bedeutung hat dabei die Ausführung der Bauteilanschlüsse. Die bauphysikalischen Eigenschaften der seitlichen Anschlüsse ans Mauerwerk sowie die Behandlung der Fensterleibungen haben entscheidende Bedeutung für die spätere Schadensfreiheit der Konstruktion.

Außen vorgesetztes Einfachfenster

Die Ergänzung eines neuen äußeren Flügels ist eine besonders einfache Methode, ein Mindestmaß an Verbesserung der bauphysikalischen Eigenschaften eines einfach verglasten Fensters zu erreichen. Besonders wertvolle oder filigrane historischen Fenster können so nach der Restaurierung vor Bewitterung geschützt werden (Abb. 3).

In vielen Fällen weisen die Stockrahmen von Kreuzstockfenstern oder zweiflügeligen Fenstern mit Setzholz außen bereits die gleichen Fälze auf wie innen. Neue Vorsatzflügel können bei diesen gefälzten Stockrahmenprofilen außen direkt auf dem vorhandenen Rahmenprofil angeschlagen werden. Die so entstehende Konstruktion entspricht im äußeren Erscheinungsbild außen vorgesetzten Winterfenstern (Abb. 4).

Bei der Sanierung von sehr alten oder wertvollen Fenstern ist die oben beschriebene Methode der Ergänzung von direkt auf den bestehenden Stockrahmen angeschlagenen Flügeln nicht anwendbar, da diese Konstruktion Eingriffe in die Originalsubstanz zur Befestigung und Anpassung der neuen Flügel erfordert. In solchen Fällen ist die Ausführung einer unabhängig in der äußeren Fensterleibung montierten Vorsatzkonstruktion aus Rahmen und Flügeln denkbar. Die Rahmenbedingungen dieser Variante sind durch den größeren Abstand der beiden Fensterebenen und die Notwendigkeit, einen neuen Rahmen in der äußeren Leibungsfläche zu befestigen, andere als bei den aufgesetzten Flügeln.

Sofern die neue Fensterebene drehbar auf dem bestehenden Stockrahmen angeschlagen wird, kann das bestehende Fenster benutzt werden wie zuvor, die neuen Außenflügel schlagen nach außen auf. Dies hat unter anderem zur Folge, dass Fensterläden nicht mehr ohne mechanische Hilfsmittel bedient werden können, da sie von innen nicht mehr erreichbar sind. Die Reinigung der Außenscheiben stellt bei dieser Variante eine Schwierigkeit dar. Hier kann als Lösung nur auf das relativ geringe Gewicht einfachverglaster Holzflügel verwiesen werden, wodurch sich diese zum Putzen aushängen lassen. Der möglichen Flügelgröße sind dadurch jedoch Grenzen gesetzt.

Das Aussehen der Bestandsfenster von innen wird ebenso wie die Bedienbarkeit durch die neuen Außenfenster kaum verändert. Deutliche Veränderungen ergeben sich nur im Fall einer Sprossenteilung der neuen Flügel. In Abb. 5 ist die Überlagerung der Fenstersprossen zweier Fensterebenen dargestellt. Von außen wird das Erscheinungsbild durch die neue Fensterebene, durch veränderte Leibungstiefe und Verschattung der Fensteröffnung deutlich verändert.

Um die bauphysikalischen Eigenschaften von außen vorgesetzten Fensterebenen beurteilen zu können, soll hier zunächst der Verlauf der Dämmebene und der luftdichten Ebene im System der Gebäudehülle betrachtet werden. Da sich die luftdichte Schicht stets auf der warmen Seite einer Konstruktion befinden sollte, um das Vordringen von warmer Raumluft mit hohem Feuchtigkeitsgehalt in kalte Schichten der Konstruktion zu vermeiden, gilt auch für die Ergänzung von Fensterebenen, dass sich die Schicht mit höherer Luftdichtigkeit raumseitig befinden sollte. Bei der Ergänzung einer äußeren Fensterebene ist das nur dann möglich, wenn das innere Fenster entweder bereits luftdicht ist – was in der Regel bei historischen Konstruktionen nicht der Fall ist – oder durch den Einbau einer Dichtungsebene luftdicht gemacht werden kann. Hierfür kann in die Rahmenprofile eine schmale Nut zur Aufnahme einer Schlauchdichtung eingefräst werden. Aus restauratorischen Gründen ist es jedoch bei wertvollen Fenstern mit schmalen Flügelrahmen meist nicht möglich, in die Bestandsfenster Dichtungsnuten einzufräsen. Die Dichtigkeit kann dann durch eine sorgfältige Restaurierung verbessert werden, da die überarbeiteten Fenster meistens wieder genauer in den Falz einschlagen.

Um die anfallende Feuchtigkeit zu ermöglichen, ist es notwendig, den Scheibenzwischenraum zu hinterlüften, indem die äußere Fensterebene undichter ausgeführt wird als die innere – also einen Lüftungsspalt erhält. Die durch das Vorsatzfenster entstehende zweischalige Konstruktion verhält sich dennoch wärmetechnisch besser als ein Einfachfenster, da im Scheibenzwischenraum durch solare Gewinne zumindest zeitweise höhere Temperaturen herrschen als in der Außenluft. Es wird außerdem der Windanprall auf die Innenscheibe reduziert, sodass auch bei einem undichten Innenfenster Zugerscheinungen durch Winddruck vermindert werden.

Die hier beschriebene Konstruktion bietet zudem den erheblichen Vorteil, dass die historischen Fenster vor weiterer Bewitterung geschützt sind. Sie ist vor allem für solche Gebäude interessant, die einen sehr wertvollen Fensterbestand aufweisen.

Innen vorgesetztes Einfachfenster

Durch innere Vorsatzfenster lassen sich bestehende Einfachfenster zu einem normalen Kastenfenster ergänzen. Möglichkeiten zur Lage und Ausführung des Innenfensters sind vor

allem von Form und Tiefe der vorhandenen Leibung und den Maßen der vorhandenen Fensteröffnung abhängig. Bei der Ausführung eines einfach verglasten Fensters als Innenfenster ist außerdem eine temporäre Anbringung der zusätzlichen Flügel denkbar. So kann die ursprüngliche Situation zumindest teilweise erhalten bleiben.

Um die Bedienbarkeit der äußeren Fensterflügel nicht einzuschränken, muss die lichte Öffnung im neuen, inneren Stockrahmen breit genug sein. Dies ist bei schrägen Leibungsflächen kein Problem, da die Rohbauöffnung nach innen verbreitert. Ist die Schräge zu gering oder fehlt sie völlig, bieten sich zwei Möglichkeiten zur Anbringung des inneren Rahmens: Entweder wird ein Blendrahmen mit den neuen Innenflügeln auf die innere Wandoberfläche montiert (Abb. 6) oder im Mauerwerk der Leibung wird ein Anschlag für das neue Fenster hergestellt. Beide Varianten verändern das innere Erscheinungsbild des Fensters und sind nicht ohne Eingriffe in die Bausubstanz möglich.

Da sich durch den Einbau einer neuen inneren Ebene am äußeren Erscheinungsbild nichts ändert, ist sie aus denkmalpflegerischer Sicht immer dann unbedenklich, wenn die inneren Oberflächen nicht besonders erhaltenswert sind. Allerdings sollte geprüft werden, ob eine Teilung der Innenflügel durch Sprossen notwendig ist, da sich die gegenüber dem Bestandsflügel versetzt wahrgenommenen Innensprossen auf die Durchsicht durch die Fenster von innen und von außen auswirken. Auch der Lichteinfall wird durch zusätzliche Sprossenteilung des Innenfensters reduziert.

Bei hochwertig gestalteten Innenräumen kann der notwendige Eingriff in die innere Leibungsfläche ein Problem sein. Außerdem verändert sich die innenräumliche Wirkung durch die Reduzierung der Leibungstiefe erheblich, die Fläche des inneren Fensterbrettes wird durch das Vorfenster reduziert oder völlig verdeckt.

Da die neue Fensterebene raumseitig, also auf der warmen Seite, ergänzt wird, lassen sich dadurch sowohl die Luftdichtheit als auch die Wärmedämmung der Fensterfläche deutlich verbessern. Die neu hergestellte Fensterebene kann ohne Weiteres mit Dichtungen versehen werden, die sowohl den Schallschutz verbessern als auch Wärmeverluste durch Konvektion reduzieren.

Bei der Ergänzung einer inneren Fensterebene ist die Lage der entstehenden neuen Dämmebene im Bereich des Fensters besonders genau zu betrachten. Während bei den zuvor beschriebenen äußeren Vorsatzfenstern der Scheibenzwischenraum hinterlüftet ist und damit nicht als Dämmebene betrachtet wir, entsteht bei den inneren Vorsatzfenstern ein Kastenfenster. Der U-Wert der Konstruktion verringert sich daher von etwa 5,2–5,0 W/m2K für ein Einfachfenster auf etwa 2,5 W/m2K für ein Doppel- oder Kastenfenster. 1 Der Einfluss des Abstandes der beiden Verglasungsebenen auf den UWert der Konstruktion wird bei gebräuchlichen Scheibenabständen zwischen zwei und zehn Zentimeter vernachlässigt. 2 Im Zusammenhang mit der Fensterertüchtigung und deren Einbindung in eine Gesamtkonzept zur energetischen Sanierung ist vor allem die Lage der neuen Dämmebene interessant. Vor allem im Zusammenhang mit neuen Außendämmungen

muss darauf geachtet werden, dass die Dämmebene in der Leibung bis zum Fenster durchgeht. Es empfiehlt sich, die Leibungsfläche im Scheibenzwischenraum ebenfalls zu dämmen, falls der erforderliche Platz im Bereich der Stockrahmen vorhanden ist. In jedem Fall sollte dieser Bereich durch Berechnung oder Computersimulation der Temperaturverläufe untersucht werden, um Bauschäden an den Leibungsflächen oder den Holzrahmen zu vermeiden.

Das oben bereits beschriebene Problem der Tauwasserbildung an der Außenscheibe kann beim inneren Vorsatzfenster durch die Tatsache verschärft werden, dass die äußere Fensterebene nicht undicht genug ist, um den Scheibenzwischenraum ausreichend zu belüften. Die Dichtungsebene der neuen Innenfenster muss besonders sorgfältig ausgeführt werden.

Innen vorgesetztes Wärmeschutzfenster

Die Ergänzung einer neuen inneren Verglasungsebene bietet die Möglichkeit, für das Innenfenster modernes Wärmeschutzglas einzusetzen und damit den Dämmstandard eines Neubaus zu erreichen. Ähnlich gute Ergebnisse lassen sich auch erzielen, wenn bei bestehenden Kastenfenstern die innere Verglasung gegen Wärmeschutzverglasung ausgetauscht wird. Zu bedenken ist hierbei, dass in diesem Fall die inneren Flügelrahmen das Gewicht der Wärmeschutzgläser tragen müssen.

Die neue Innenverglasung hat einen höheren Dämmwert als das Bestandsfenster. Die Dämmebene der Gesamtkonstruktion wird durch die Ergänzung daher deutlich weiter nach innen verschoben. Die im vorherigen Absatz beschriebene Notwendigkeit zur Dämmung der Leibungsflächen, vor allem auch im Scheibenzwischenraum, wird daher bei dieser Konstruktion erhöht. Durch die hochdämmende Innenscheibe werden der Scheibenzwischenraum und seine Oberflächen nicht mehr durch die Raumluft beheizt, was zu erhöhtem Risiko von Tauwasserbildung und Schäden an den Holzbauteilen führen kann. Diese Gefahr droht insbesondere an und hinter bestehenden Leibungsverkleidungen aus Holz, wenn die Innenscheiben ertüchtigt werden. Bei der Detailplanung der neuen Innenfenster sollte daher der Platzbedarf für Leibungsdämmung und die Möglichkeit zur ausreichenden Überdämmung der Stockrahmen berücksichtigt werden.

Gebaute Beispiele

Die Anwendung der beschriebenen Ertüchtigungsmaßnahmen von Einfachfenstern zu Kastenfenstern soll anhand von zwei Projektbeispielen erläutert werden. Bei der Sanierung eines denkmalgeschützten Bauernhauses in Bayern wurden Bestandsfenster aus dem 19. und frühen 20. Jahrhundert sowohl durch äußere als auch durch innere Fensterebenen ertüchtigt.

Die Ergänzung von außen angeschlagenen, einfach verglasten Flügeln sollte bei den ältesten erhaltenen Fenstern des Gebäudes den Erhalt der wenigen noch vorhandenen bauzeitlichen Fensterflügel sichern. Es handelt sich um zweiflügelige Fenster mit mittlerem Setzholz, deren Flügel sehr filigran und durch ihre Lage auf der Wetterseite bereits stark beansprucht waren. Die ursprüngliche Verglasung in der Glasnut war bereits durch Kittfälze ersetzt, die Rahmen und Sprossen dadurch zusätzlich geschwächt. Auf das Einfräsen einer Dichtungsnut in die Flügelrahmen wurde daher in diesem Fall verzichtet. Die Fenster wurden aber restauriert, um ein besseres Schließen der Flügel zu erreichen (Abb. 7).

Da auf der Außenseite von Stockrahmen und Setzholz wie oben beschrieben ein Falz vorhanden war, konnten die neuen Außenfenster direkt auf dem bestehenden Fensterstock angeschlagen werden. Trotz der relativ starken Veränderung des äußeren Erscheinungsbildes wurde in Absprache mit dem Denkmalschutz beschlossen, die neuen Außenflügel mit Einfachverglasung ohne Teilung auszuführen (Abb. 8). Dadurch sind die neuen Flügel von innen kaum wahrzunehmen. Da im Scheibenzwischenraum das Fensterblech des Bestandsfensters vorhanden war, schlagen die neuen Flügel unten nicht dicht an, wodurch ein ausreichend großer Belüftungsspalt entsteht. Gleichzeitig wird herablaufendes Tauwasser von der Außenscheibe über das Blech nach außen abgeleitet.

Durch die Maßnahme konnten Zugerscheinungen durch die Innenflügel stark reduziert werden. Die Innenaufnahmen mit der Wärmebildkamera (Abb. 9) zeigen jedoch, dass die Fensterrahmen und die Leibungsanschlüsse niedrige Oberflächentemperaturen aufweisen.3 Durch die vorhandenen tiefen Leibungen werden die Fensternischen nicht ausreichend mitbeheizt, wodurch es im Bereich der Rahmen und der Leibungsflächen zu Unterschreitungen der Taupunkttemperatur kommt. Die wichtigste Zielsetzung, nämlich die Bestandsfenster vor weiterer Bewitterung zu schützen, wurde jedoch vollständig erreicht.

Bei der zweiten ausgeführten Sanierungsvariante wurden Galgenfenster aus dem frühen 20. Jahrhundert (etwa 1910) am gleichen Gebäude durch eine ebenfalls einfach verglaste innere Fensterebene ergänzt. Die neuen Innenfenster wurden als unabhängige Konstruktion in der Leibung montiert, wobei an einigen Stellen das Mauerwerk eingeschnitten werden musste, um ausreichend breite innere Öffnungen zu erhalten. Auch hier wurde auf eine weitere Unterteilung der Flügel verzichtet, um optische Überlagerungen zwischen neuen und alten Sprossen zu vermeiden (Abb. 10). Die neuen Innenfenster sind außerdem nur zweiflügelig, um die Bestandsfenster möglichst sichtbar zu lassen und die Bedienung zu erleichtern. Bei dieser Fensterergänzung wurden die inneren Flügel mit einer Falzdichtung versehen.

Die Wärmebildaufnahme zeigt, dass durch die Verschiebung der inneren Verglasungsebene nahe an die innere Wandoberfläche die Fenster von der aufsteigenden Warmluft der Konvektoren bestrichen werden, was ihre Oberflächentemperatur erhöht und die oben beschriebenen kalten Fensternischen vermeiden hilft (Abb. 11).

Die zuvor formulierten Fragestellungen lassen sich am Beispiel von Sanierungsmöglichkeiten der historischen Fenster des Zisterzienserklosters in Raitenhaslach verdeutlichen. Der erhaltene Hauptbau (Prälatenstock) des ehemaligen Klosters entstand Mitte des 18. Jahrhunderts (Abb. 12). Die große Zahl erhaltener historischer Holzfenster stammt aus der Bauzeit, die sich allerdings über mehrere Jahrzehnte erstreckte.

Dadurch existieren im Gebäude unterschiedliche handwerkliche Ausführungen des gleichen Fenstertyps ebenso wie mehrere ähnliche, jeweils leicht veränderte oder verbesserte Fensterkonstruktionen. Bei der Untersuchung und Kartierung der verschiedenen Fenstertypen war es möglich, diese aufgrund geringer Unterschiede in der Konstruktion und Ausführung den jeweils über Baualtersbestimmung nachgewiesenen Bauphasen des Gebäudes zuzuordnen. Der Fensterbestand des Klosters stellt allein durch diese Tatsache schon ein großartiges Archiv für Fensterkonstruktionen dar (Abb. 13, 14).

Die Fenster sind durchgängig in einem sehr stark reparaturbedürftigen Zustand. Dies ist neben dem teilweise hohen Alter auch auf die mangelnde Wartung in den letzten Jahrzehnten zurückzuführen. Historische konstruktive Mängel und Schäden an den Fenstern, wie z. B. fehlerhaft eingebaute Natursteinsimse, haben teilweise zu einer völligen Zerstörung von Bauteilen geführt (Abb. 15).

Da das Kloster erneut genutzt werden soll, um seinen Erhalt zu sichern, ist eine Ertüchtigung der Gebäudehülle auf einen Mindestdämmstandard für temporären Seminarbetrieb erforderlich.

Eine mögliche Sanierungsstrategie für den sehr wertvollen historischen Fensterbestand des Klosters ist der Einbau von außen liegenden Vorsatzfenstern. Für diese Ausführungsvariante spricht einerseits die Überlegung, die äußerst filigranen Holzkonstruktionen der Fenster nach einer behutsamen Restaurierung nicht erneut der Witterung auszusetzen. Andererseits wird eine außenseitige Ergänzung der Fenster auch dadurch nahegelegt, dass in vielen der Räume äußerst wertvolle Oberflächen mit Stuck und Malereien vorhanden sind, die ein Eingreifen in die inneren Leibungsflächen ausschließen.

Gegen die Anbringung von neuen Außenfenstern spricht, dass das Erscheinungsbild der Hauptfassade des Klosters dadurch erheblich verändert werden würde. Um die Entscheidung für eine solche Maßnahme zu begründen, wäre es hilfreich, bei der Gestaltung der neuen Außenfenster auf historische Vorbilder am Gebäude zurückgreifen zu können. Als Vorbild für ein neues Außenfenster steht zum einen ein vorhandenes historisches Winterfenster zur Verfügung, das an einem Wohnraumfenster in der nördlichen Giebelwand montiert ist (Abb. 16). Bei näherer Betrachtung zeigt sich jedoch, dass dieses Vorfenster aus einer wesentlich späteren Bauphase, wahrscheinlich Ende des 19. Jahrhunderts, stammt.

Als zweite Möglichkeit für ein historisches Vorbild zur modernen Fensterergänzung bietet sich ein Fenster an, das näher an der Originalbauzeit liegt: An den Fenstern der Hauptfassade finden sich die aufgesetzten Rahmen für außenliegende Läden. Die außenliegenden Rahmen aus einfachen, farbig gefassten Brettern, die mit eingeschlagenen Kloben zum Einhängen der Lamellenläden versehen sind, sind trotz der auffallenden Farbe und der relativ breiten Ansichtsfläche im Gesamtbild der Fassade keineswegs störend (Abb. 17). Ein Zurückgreifen auf diese Konstruktion für die Ausführung neuer Außenfenster oder die Montage einer neuen Konstruktion hinter diesen bestehenden Blendrahmen erscheint also durchaus denkbar.

Zusammenfassung

Historische Konstruktionen haben ihre Haltbarkeit durch ihre lange Lebensdauer bereits unter Beweis gestellt. Schäden und Funktionsmängel gehen oft nicht auf eine mangelhafte Funktionsweise oder Ausführung zurück, sondern auf mangelhafte Pflege und Wartung. Moderne Konstruktionen müssen häufig ihre Haltbarkeit erst noch unter Beweis stellen, da durch fehlende Reparaturfähigkeit von Material und Konstruktionen eine lange Lebensdauer nicht unbedingt sichergestellt ist.

Die Entscheidung für den Austausch von Fenstern wird dagegen oft durch den Augenschein bestimmt sowie durch eine fehlende Wertschätzung für die Qualitäten der alten Konstruktionen. Die Überlieferung von Kulturgeschichte erfolgt aber gerade bei beweglichen Bauteilen wie Fenstern nicht allein über Aussehen und Form, sondern vor allem durch den Erhalt von originalen Bauteilen mit allen Spuren individueller Herstellung und Benutzung, die sie im Laufe der Zeit angesammelt haben (Abb. 18). Die Einbindung in den Bestand und die kontinuierliche Benutzung sind für das Verständnis erforderlich.

Da bei der Anpassung von Bestandsgebäuden an zeitgemäßefunktionale und bauphysikalische Anforderungen auf die Ertüchtigung der Gebäudehülle nicht verzichtet werden kann, ist die Ergänzung der vorhandenen Fenster durch zusätzliche Fensterebenen eine sehr gute Lösung: das Potential solcher Ergänzungen für die energetische Sanierung von Gebäuden ist enorm.

Das Beispiel der Klosterfenster in Raitenhaslach zeigt, wie vielschichtig und kompliziert der Entscheidungsprozess für eine Fensterertüchtigung ist. Die bauphysikalischen Anforderungen und deren konstruktive Umsetzung stehen gestalterischen und denkmalpflegerischen Gesichtspunkten gegenüber (Abb. 19). In jedem Fall bietet aber die Ergänzung einer zusätzlichen Fensterebene ungleich mehr Spielraum, auf alle diese Anforderungen zu reagieren, als dies beim Austausch der Fenster der Fall wäre. Der wichtigste Grund für eine Fensterertüchtigung ist aber, dass diese Vorgehensweise die einzige Strategie zum Erhalt der Originalbauteile darstellt.

Auf der Suche nach hochwertigen Fenstern für Ihr Baudenkmal?

Wir vermitteln Sie kostenfrei an Fachbetriebe in Ihrer Umgebung.

Über den Autor

Prof. Dipl. Ing. Susanne Gampfer

Prof. Dipl. Ing. Susanne Gampfer ist Vorsitzende der Prüfungskommission Architektur an der Technischen Hochschule Augsburg und lehrt als Professorin für Hochbaukonstruktion mit Baustoffkunde – Ökobilanzierung und Nachhaltigkeit von Baustoffen und Baukonstruktionen die Studiengänge E2D, Bauingenieurwesen und Architektur im Bachelor und Master.


Bedal 2007: Bedal, K.: Häuser aus Franken, hg. v. Fränkisches Freilandmuseum Bad Windsheim, Bad Windsheim 2007.
Böhme/Güsewelle 2005: Böhmer, H., Güsewelle, F.: UWerte alter Bauteile, hg. v. Institut für Bauforschung e.V. IFB, Hannover 2005.
Gerner/Gärtner 1996: Gerner, M.; Gärtner, D.: Historische Fenster, Stuttgart 1996.
Nickl 1990: Nickl, P.: Kleine Fenster – Beiträge zur Fensterdiskussion heute, hg. v. Bayerischer Handwerkstag e.V., München 1990.
Schmidt 2004: Schmidt, W.: Reparatur Historischer Holzfenster (= Denkmalpflege Informationen), hg. v. Bayerisches Landesamt für Denkmalpflege, Bamberg 2004.
Wagner 2007: Wagner, A.: Energieeffiziente Fenster und Verglasungen, hg. v. FIZ Karlsruhe, Solarpraxis, BINE, Karlsruhe 2007.

Fenster im Baudenkmal ist ein Fachportal nicht nur für Handwerker, Architekten oder Denkmalpfleger. Vor allem Eigentümer von Altbauten, historischen Gebäuden und Baudenkmalen finden hier wertvolle Informationen über den Erhalt, die Optimierung und den Nachbau von Holzfenstern aller Art.